Cerca

Brevetto Ferrari, così il Launch Control si attiva tirando una maniglia

Un curioso brevetto illustra l'idea del Cavallino Rampante su come gestire l'attivazione del Launch Control

Brevetto Ferrari, così il Launch Control si attiva tirando una maniglia
Vai ai commenti
Filippo Vendrame
Filippo Vendrame
Pubblicato il 17 ott 2025

Molte delle auto sportive moderne dispongono di un Launch Control, un sistema che permette di gestire nel migliore dei modi potenza, coppia e trazione per poter garantire la miglior accelerazione partendo da fermi. A volte, però, può capitare che su alcuni modelli la procedura per attivare il Launch Control sia complicata. Può infatti essere necessario premere un pulsante un po’ nascosto o armeggiare con le impostazione dell’infotainment. Come semplificare l’attivazione di questa funzione? Pare che Ferrari abbia un’idea in merito, decisamente curiosa in realtà, che è contenuta all’interno di un brevetto. La scoperta si deve a Carbuzz che ha riportato i dettagli di quanto emerso dai documenti.

IL LAUNCH CONTROL SECONDO FERRARI

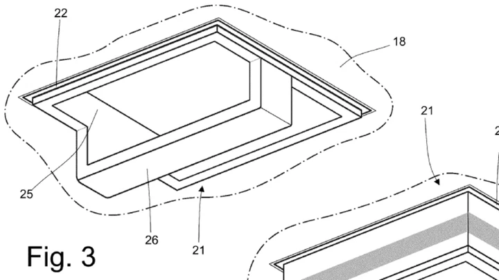
Perché un’idea curiosa? Il brevetto descrive una sorta di maniglia sul tetto per controllare la procedura di Launch Control dell’auto. Per attivarlo, il conducente tiene premuto il freno e agisce sulla maniglia abbassandola. Quando il Launch Control è attivato, un anello luminoso sulla maniglia stessa si illumina, insieme all’illuminazione ambientale dell’abitacolo. Inoltre, viene visualizzato un messaggio sul display. In questo modo, il conducente dovrebbe essere in grado di notare subito l’effettiva attivazione del Launch Control. A quel punto non si dovrà fare altro che premere a fondo il pedale dell’acceleratore e rilasciare quello del freno.

Il sistema ipotizzato da Ferrari appare sicuramente curioso ma comunque anche pratico, forse più semplice di altre procedure previste su modelli sportivi di altre case automobilistiche. Inoltre, avere una sorta di maniglia sul tetto ricorda un po’ il mondo degli aerei e a qualcuno potrebbe anche piacere. Si tratta comunque solamente di un brevetto e quindi non è detto che alla fine possa trovare un’applicazione pratica. Potrebbe anche finire semplicemente in un cassetto. In ogni caso, significa che il Cavallino Rampante sta pensando a qualche alternativia per gestire la funzione di Launch Control all’interno delle sue vetture.

Di recente abbiamo visto diversi brevetti curiosi firmati Ferrari. Ricordiamo, ad esempio, quello sui pistoni ovali per rendere i motori V12 più compatti e abbinabili ad un sistema ibrido.

Ti potrebbe interessare:
Commenti Regolamento