Cerca

Mercedes brevetta un tetto che si apre a libro: risolve un fastidio

Un nuovo brevetto mostra un tetto a cerniere multiple che si piega su se stesso, rendendo l'accesso a bordo più semplice e senza ingombri

Mercedes brevetta un tetto che si apre a libro: risolve un fastidio
Vai ai commenti
Daniele Di Geronimo
Daniele Di Geronimo
Pubblicato il 17 mar 2026

Ci sono cose di un’automobile, almeno quelle che vediamo comunemente sulle strade, che pensiamo non cambieranno mai. Tra queste ci sono gli sportelli delle auto. Sono quasi sempre (salvo qualche sporadico cambiamento nell’orientamento) rimasti uguali e salire e scendere da una vettura è quindi qualcosa che pensiamo resterà sempre uguale. In realtà dal sistema di apertura degli sportelli laterali dipendono diversi elementi strutturali, di sicurezza e di comodità.

Mercedes-Benz lo sa bene. È stata tra le prime a sperimentare le porte ad ali di gabbiano, nate non per estetica ma per necessità, perché i longheroni laterali della 300 SL erano così alti da rendere impossibile l’ingresso con una porta convenzionale. A distanza di settant’anni, la casa di Stoccarda torna a ragionare sullo stesso problema con un brevetto da poco concesso dall’Ufficio Brevetti e Marchi tedesco.

L’idea di Mercedes-Benz

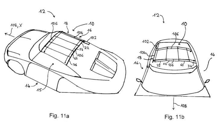
L’idea riguarda un sistema di apertura del tetto che si attiva in sincronia con le portiere tradizionali. L’obiettivo è eliminare la necessità di piegarsi sotto il montante laterale per salire a bordo. Non è un concetto del tutto inedito. HiPhi, marchio cinese, ha già adottato pannelli del tetto apribili con cerniera centrale su alcuni suoi modelli, e il concept Rolls-Royce 103EX mostrava un unico grande pannello incernierato sul bordo del tetto. Nel suo brevetto Mercedes-Benz cita entrambe le soluzioni, riconoscendone i meriti e i limiti. Nel caso di HiPhi, la barra centrale rimane e continua a ostacolare l’ingresso. Nel caso Rolls-Royce, il pannello che si protende in verticale crea problemi di ingombro in altezza.

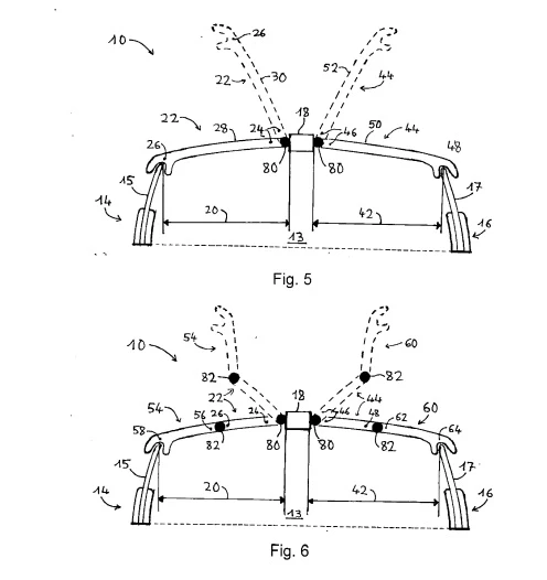
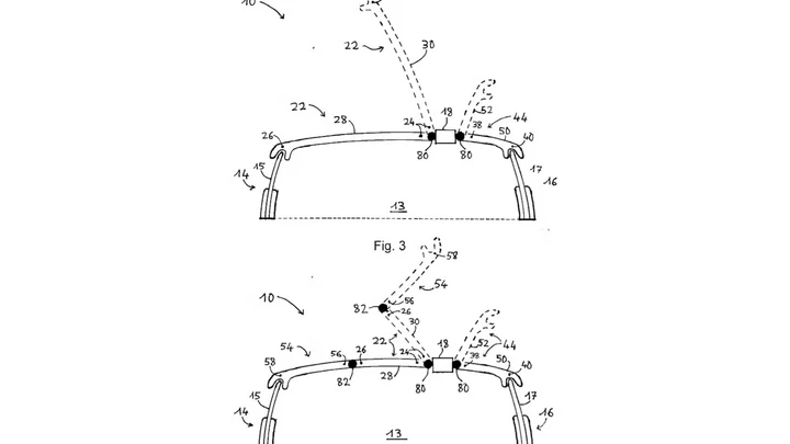
La soluzione proposta da Mercedes-Benz punta a superare entrambi i difetti con un sistema di cerniere multiple, fino a tre o quattro per pannello. Grazie a questo sistema, il tetto si piega su se stesso durante l’apertura, mantenendo un’altezza contenuta e liberando completamente il varco di accesso. Il brevetto contempla configurazioni diverse, alcune con barra centrale (come nel caso HiPhi), altre con la barra spostata lateralmente. Quest’ultima variante consentirebbe di privilegiare l’accesso da un solo lato, una soluzione che potrebbe interessare i servizi di trasporto con conducente o le vetture a due posti dove il passeggero sale sempre dallo stesso lato.

Come potrebbe apparire

Ecco come potrebbe apparire (la foto è stata prodotta con l’intelligenza artificiale che ha analizzato le immagini del brevetto) una vettura dotata di questo sistema.

Il problema resta quello della fattibilità. Un sistema di questo tipo richiede pannelli mobili che devono chiudersi ermeticamente, resistere alle intemperie e mantenere la precisione geometrica nel tempo. Tutto questo ha costi più elevati, che inevitabilmente si riflettono sul prezzo finale del veicolo. E che potrebbero rendere poco conveniente portare a sviluppo una soluzione del genere. I brevetti, nel settore automotive, spesso non arrivano alla produzione di serie. Questo però si distingue per una caratteristica precisa, ossia il fatto che analizza e cita soluzioni già esistenti per superarle con un approccio documentato, il che suggerisce un lavoro progettuale più strutturato di un semplice studio teorico.

Ti potrebbe interessare:
Commenti Regolamento