Cerca

Yamaha brevetta una moto elettrica che vibra e fa rumore grazie ad un "finto motore"

Il brevetto punta a fare in modo che anche la moto elettrica offra una guida coinvolgente quasi come quella delle 2 ruote tradizionali

Yamaha brevetta una moto elettrica che vibra e fa rumore grazie ad un "finto motore"
Vai ai commenti
Filippo Vendrame
Filippo Vendrame
Pubblicato il 1 ott 2025

Il sound e le vibrazioni del motore sono parte importante dell’esperienza di guida di una moto, per molti, addirittura irrinunciabile. Con l’arrivo delle moto elettriche, però, le cose sono destinate a cambiare. Niente vibrazioni, solo il ronzio del motore elettrico. Proprio per questo, Yamaha ha pensato ad una soluzione per continuare a disporre di quelle sensazioni che si provano guidando una moto endotermica anche sulle due ruote a batteria. La soluzione è contenuta in un brevetto il cui obiettivo è chiaro: fare in modo che anche la moto elettrica offra una guida coinvolgente.

L’IDEA DI YAMAHA

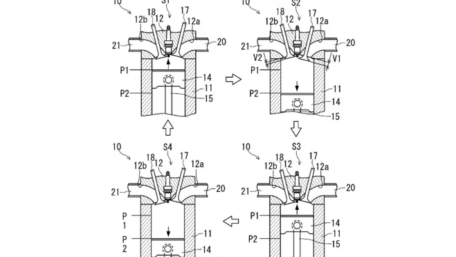
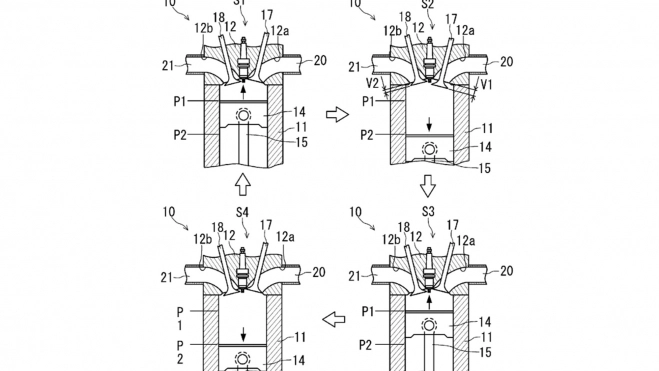
Il bretto è depositato con il nome di “Saddle-Riding Type Electric Vehicle" e no, non stiamo parlando del solito sound artificiale già utilizzato da molte case automobilistiche per le loro auto elettriche. Il brevetto descrive un piccolo motore che non va a muovere la moto. Si tratta di un’unità dotata di un pistone, di un albero motore e di valvole di aspirazione e scarico. Niente benzina perché tutti gli elementi di tale unità sono mossi elettricamente. In questo modo, però, sarebbe possibile replicare fedelmente le classiche vibrazioni e persino il sound dei motori endotermici delle moto. In pratica, si tratta di un “motore finto" che aggiunge rumori e vibrazioni realistici grazie al movimento delle masse interne, offrendo al pilota sensazioni molto simili a quelle delle moto tradizionali, senza andare a bruciare benzina.

Con questa particolare soluzione, Yamaha sembra aver trovato un compromesso. Secondo il brevetto, alcuni appassionati di moto accolgono con favore la riduzione delle emissioni, ma desiderano comunque mantenere un legame “fisico" con il motore. Per ora si tratta ovviamente solo di un brevetto e per quanto ne sappiamo potrebbe anche rimanere nel cassetto e non essere utilizzato. Il mercato delle moto elettriche del resto oggi è ancora molto acerbo. Sul mercato si inizia a vedere qualche modello in più ma siamo ancora molto lontani da avere un’offerta competitiva. Oggi è così ma domani, con l’evoluzione tecnica, le cose potrebbero cambiare. Intanto Yamaha pensa a come poter preservare l’esperienza di guida delle moto tradizionali anche su quelle elettriche.

Il brevetto è curioso ma la soluzione ideata da Yamaha sembra aggiungere solo inutile complessità ad una moto. In ogni caso il tutto dimostra che la casa giapponese sta quanto meno pensando al futuro quando il mercato delle 2 ruote potrebbe essere differente.

Ti potrebbe interessare:
Commenti Regolamento