Cerca

Ford brevetta il proiettore da specchietto per le elettriche

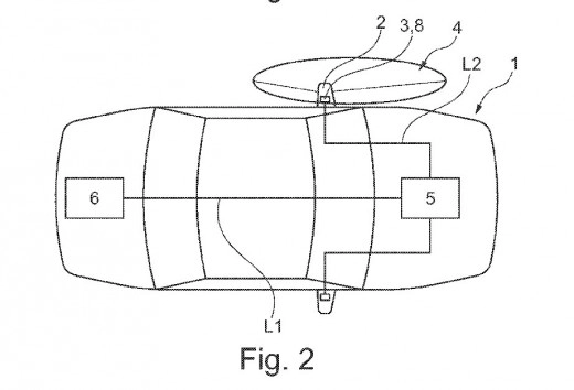
L'ultimo brevetto di Ford guarda alle auto elettriche: il produttore ha infatti registrato un brevetto per un proiettore da specchietto come già ne esistono ma che servirà a mostrare le informazioni sullo stato di carica dell'auto. Sembra una mossa

Ford brevetta il proiettore da specchietto per le elettriche
Vai ai commenti
Luigi Melita
Luigi Melita
Pubblicato il 3 gen 2016

L’ultimo brevetto di Ford guarda alle auto elettriche: il produttore ha infatti registrato un brevetto per un proiettore da specchietto come già ne esistono ma che servirà a mostrare le informazioni sullo stato di carica dell’auto.

Sembra una mossa eccessiva dato che i proiettori sono ormai diffusi (sebbene principalmente come optional) nel mondo delle quattro ruote così come in quello dei gadget (qualcuno ha detto sveglie?) e non si tratta certo di un’idea particolarmente innovativa da registrarne la proprietà intellettuale.

Piuttosto tale sistema è semplicemente una diversa applicazione di un’idea già in voga, una chicca hi-tech per un semplice indicatore di carica. Nonostante questo la guerra del futuro riguarderà con molta probabilità proprio le auto elettriche che faranno a gara per sfoggiare tecnologie sia utili che estetiche e il proiettore negli specchietti rientra proprio in questa categoria.

Ovviamente dal brevetto alla produzione la strada è spesso lunga e, in molti casi, si interrompe bruscamente. Vedremo se tale tecnologia sarà ripresa in futuro in un prossimo modello da produzione oppure accantonata come esercizio di stile…

Ti potrebbe interessare:
Commenti Regolamento