Cerca

Honda, in un brevetto i segreti della CB125R elettrica

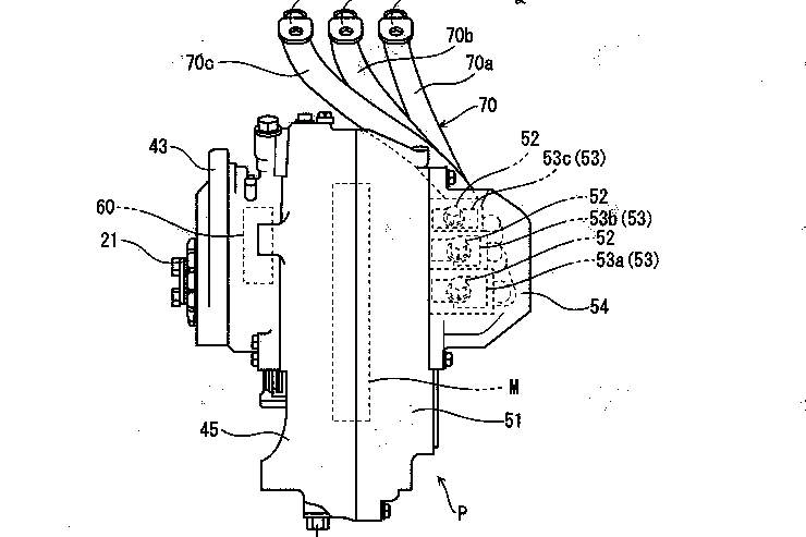
Da alcuni brevetti emerge che Honda starebbe lavorando su di una versione elettrica della CB125R.

Honda, in un brevetto i segreti della CB125R elettrica
Vai ai commenti
Filippo Vendrame
Filippo Vendrame
Pubblicato il 14 ago 2020

Sino ad ora, Honda non si è dimostrata particolarmente interessata al mondo delle moto elettriche. Sembra, però, che le cose possano cambiare. Il costruttore giapponese starebbe lavorando ad una versione elettrificata della CB125R (il cui debutto risale al 2017), almeno secondo quanto emerge da alcuni brevetti depositati in cui sono presenti i progetti di tale moto. Si tratterebbe, dunque, di una 2 ruote dal design tradizionale ma equipaggiata con una unità elettrica.

Una scelta probabilmente dettata dal fatto che Honda punta a proporre un prodotto dallo stile classico e senza particolari scelte stilistiche "futuristiche" come capita di vedere sulle moto elettriche. Un modo per avvicinare un numero maggiore di potenziali clienti. Inoltre, partire da una base già esistente dovrebbe permettere di ridurre i costi di sviluppo. Purtroppo, i brevetti non svelano le informazioni più interessanti e cioè la potenza del motore, la capacità della batteria e l'autonomia.

Tuttavia, vista la base della moto è possibile che Honda voglia offrire un prodotto analogo e quindi con prestazioni simili a quelle di un classico 125. Si tratterebbe, dunque, di una 2 ruote con una potenza di circa 11 kW in grado di raggiungere la velocità di circa 130 Km/h.

Quello che comunque appare abbastanza evidente è che i brevetti mettono in evidenza un progetto completo. Al debutto, dunque, potrebbe non mancare molto.

Ti potrebbe interessare:
Commenti Regolamento